Solenoid valve for controlling suction and release in the vacuum handling process
Large connectors for switching high flow rates in combination with centrally positioned vacuum generators
Actuation via 24V-DC signal for easy integration
Pulse-controlled solenoid valve for switching suction and discharge increases process reliability even in the event of power failure
Design
Design

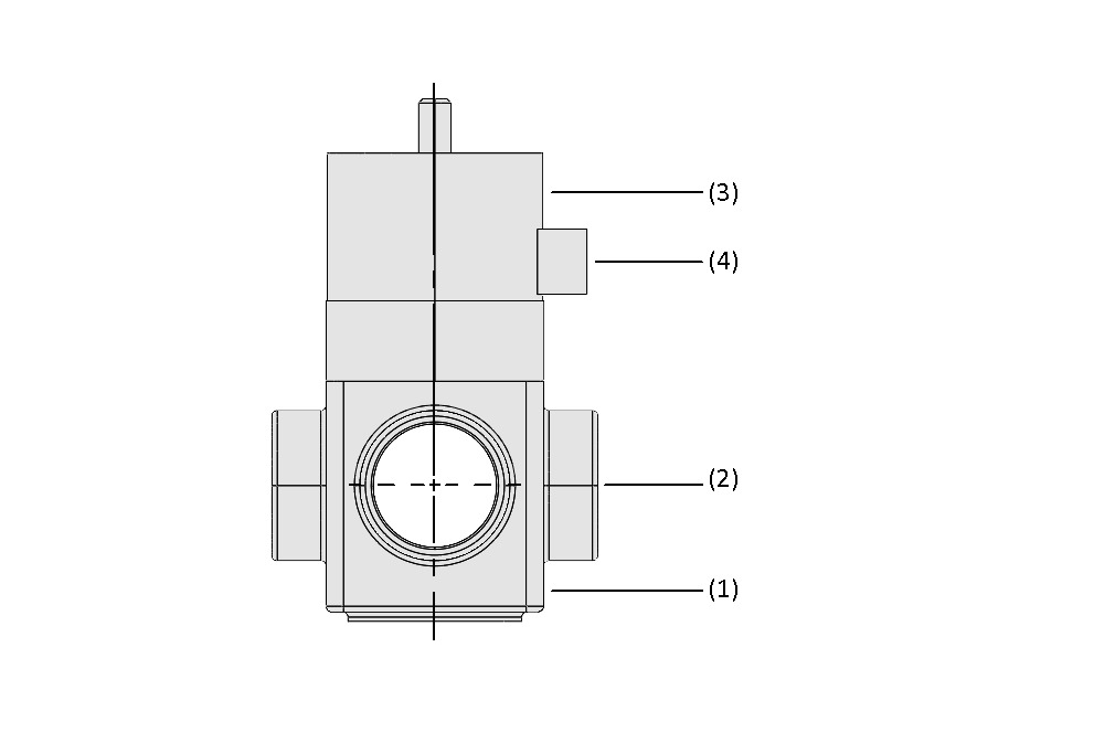
- Metal main body (1)
- Solenoid coil (2)
- Control valve (3)
- Connectors for suction cups and blowers (4)
Technical Data
Technical Data
- Connector: G2"
- Supply voltage: 24V-DC
- Metal main body
Documentation
Documentation
The matching documentation for this product is available in this section.
Documents | Language |
---|---|
English |
1 - 1 from 1 results