Schmalz

  • NOUVEAU

Ventouse à soufflets SPB1 P (1,5 soufflets)

Surface de ventouse (Ø) 40 mm

Accéder directement aux produits

Montage et démontage rapides et sans outil grâce à la fonction de montage par clipsage ("push-in")

La matière Elastodur ED-65 minimise l'usure (durée de vie environ 3 fois plus élevée qu'avec le NBR)

Force d'aspiration élevée pour des dimensions réduites grâce à une grande surface d'aspiration effective

Grande stabilité intrinsèque de la ventouse dans les procédés dynamiques

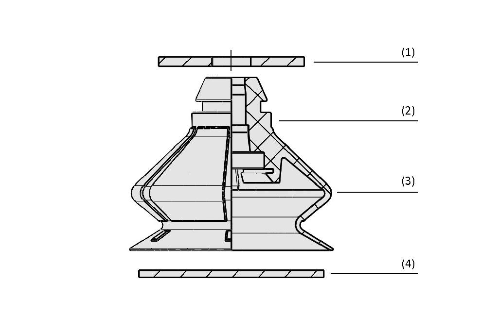
Composition
  • Ventouse à soufflet ronde SPB1 P avec 1,5 soufflets (3) en Elastodur résistant à l'usure et dynamique
  • En option, intégration de restrictions au flux de 0,8 à 1,5 mm (2)
  • Trou existant côté machine pour un montage sans outil grâce à la fonction "push-in" (1)
  • En option, intégration d'un tamis de filtrage (4) comme pré-filtre (finesse de filtration de 120 µm)
Données techniques
  • Diamètre : 40 mm
  • Matière : ED-65
  • Fonction d'emboîtement
Documentation

La documentation relative à ce produit est disponible dans cette section.

DocumentsLangue
Français

La documentation est également disponible dans son intégralité en anglais.

DocumentsLangue
Anglais

Filtrer les résultats

Taille
Nombre de soufflets
Matière de la ventouse
Famille de produits
Hauteur H
Allongement du ressort Z
Caractérisation
Secteurs

1 - 1 de 1 résultats

  • NOUVEAU
SPB1 40 ED-65 P

Réf. article: 10.01.06.06111

Ventouse (ronde) à 1,5 soufflet pour une dynamique maximale sur cartons et emballages stables

Taille40
Matière de la ventouseElastodur ED
Dureté de la matière [Shore A]65 (Shore A)
Nombre de soufflets1.5
FormeClipsable

Schmalz Companies

Select your Schmalz Company in one of the following regions:

Regions

Your region is not listed?

Schmalz maintains an international sales network with sales partners in over 80 countries. Please select a language for our international website.

L'URL à laquelle vous essayez d'accéder n'est pas dans la bonne langue ou le bon contexte national.

Le canal du magasin associé à votre compte ne correspond pas au canal de l'URL demandée. Pour consulter les prix ou passer une commande, veuillez passer au canal qui vous est propre.

Produit ajouté avec succès au panier

Aller au panier